Home / Products / Flanges / Groove & Tongue Flanges
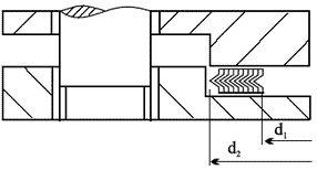
The Groove and Tongue faces of these flanges must be matched. One flange face has a raised ring (Tongue) machined onto the flange face while the mating flange has a matching depression (Groove) machined into it's face.
Tongue-and-groove facings are standardized in both large and small types. They differ from male-and-female in that the inside diameters of the tongue-and-groove do not extend into the flange base, thus retaining the gasket on its inner and outer diameter. These are commonly found on pump covers and Valve Bonnets.
Groove & Tongue Flanges

Flange Facings: Raised Face, Ring Type Joint, Large Tongue & Groove, Small Tongue & Groove
Flanges are available in the following material grades:
- Stainless Steel
- A182 F304/L
- F310
- F316/L
- F321/H
- F347/H
- F410
- F440
- 904L
- Carbon Steel
- A105, C22.8
- Low Temperature Steel
- A350 LF2, LF3, LF6
- Alloy Steel
- A182 F1, F5, F9, F11, F12, F22, F91
- High Yield
- A694 F42, F52, F60, F65, F70
- 6% Moly / Duplex & Super Duplex
- A182 F44, F51, F53, F55
- Nickel Alloys
- 200, 400, K500, 600, 625, 800, 825
- Alloys
- ALLOY 20
- ALLOY C
- ALLOY C276
- ALLOY B2
- Aluminium
- 5083, 5154, 5251, 6061, 6063, 6082
- Unusual Grades
- Bronze, Brass, Copper
- Cupro Nickel
- Titanium
Dimensions
Tongue and groove flanges per ANSI B16.21 (150-1500 lbs)


Main Export Market
- Eastern Europe
- North America
- Mid East/Africa
- Central/South America
- Asia
- Western Europe
- Australasia
- UAE
Sales Locations
U.A.E,
Oman,
Saudi Arabia,
Qatar,
Bahrain,
Egypt,
Turkey
Singapore,
Thailand,
Malaysia
Indonesia
Poland
Italy
Portugal
Spain
Brazil
Chile
Venezuela
Costa Rica
USA
Canada
Angola
Sri Lanka
Russia